SWIMMING POOL AND SPA PRODUCTS LINEUP
Complete Catalogue
2025 Edition • All our products in one document
View & Download our complete catalogue with technical specifications, images, and detailed information on all our products.
Sablex Sand Filter Series
Blow-Molded

The Sablex Series Filters are specially designed with high-density polyethylene to withstand the demands of outdoor environments, including prolonged exposure to sunlight and other natural elements. These filters feature a UV-resistant, one-piece blow-molded filter tank that has received industry recognition for its outstanding resilience, reliable performance, and cost-effectiveness. Built to withstand the challenges presented by changing weather conditions, temperature changes, and other external factors, Sablex ensures long-term reliability and exceptional value.
Technical Information:
| Sablex ( Top Mount ) | Sablex ( Side Mount ) | Filtration Area ( m² ) | Diameter ( mm ) | Max. Flow Rate ( m³/h ) | Valve Connection | Sand (0.5 - 0.8 mm) ( Kg ) | Sand (1.0 - 2.0 mm) ( Kg ) |
|---|---|---|---|---|---|---|---|
| ST350 | - | 0.1 | 350 | 4.32 | 1.5" / 50mm | 20 | - |
| ST400 | - | 0.13 | 400 | 6.12 | 1.5" / 50mm | 35 | - |
| ST450 | SS450 | 0.16 | 449 | 7.8 | 1.5" / 50mm | 45 | - |
| ST500 | SS500 | 0.22 | 527 | 10.8 | 1.5" / 50mm | 70 | 15 |
| ST650 | SS650 | 0.31 | 627 | 15.3 | 1.5" / 50mm | 115 | 30 |
| ST700 | SS700 | 0.39 | 703 | 19.2 | 1.5" / 50mm | 150 | 60 |
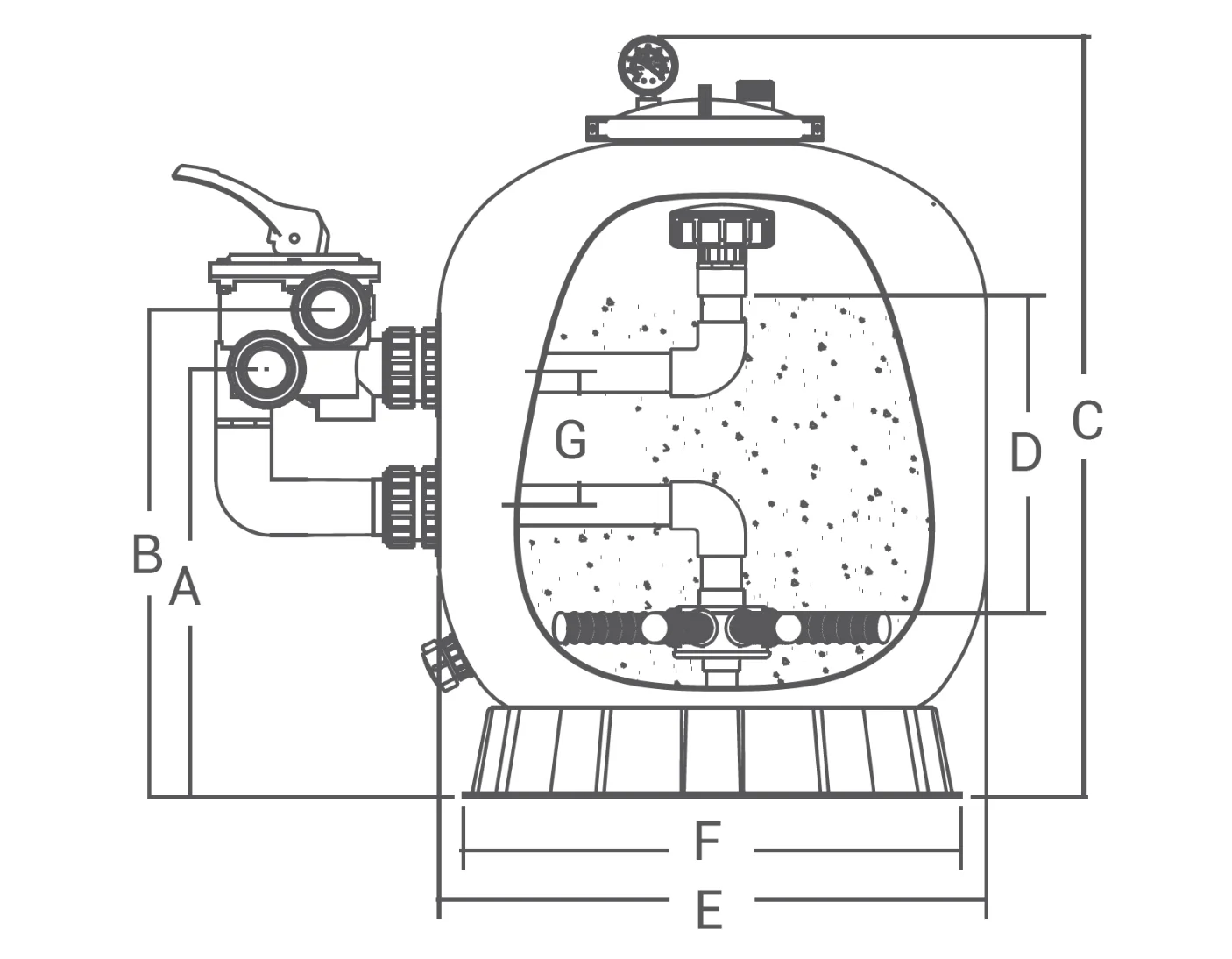
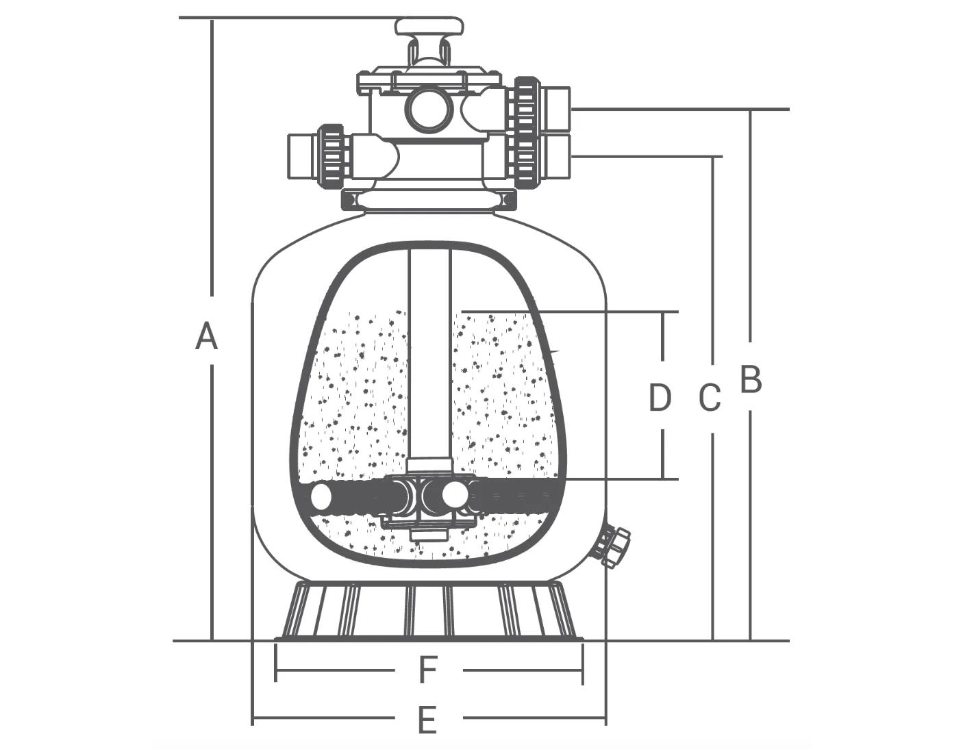
Product Dimensions:
| Model | A ( mm ) | B ( mm ) | C ( mm ) | D ( mm ) | E ( mm ) | F ( mm ) |
|---|---|---|---|---|---|---|
| ST350 | 726 | 619 | 550 | 160 | 350 | 298 |
| ST400 | 757 | 640 | 590 | 175 | 400 | 390 |
| ST450 | 814 | 698 | 638 | 210 | 449 | 390 |
| ST500 | 845 | 730 | 670 | 235 | 527 | 500 |
| ST650 | 950 | 835 | 775 | 300 | 627 | 500 |
| ST700 | 1020 | 905 | 845 | 330 | 703 | 500 |

| Model | A ( mm ) | B ( mm ) | C ( mm ) | D ( mm ) | E ( mm ) | F ( mm ) | G ( mm ) |
|---|---|---|---|---|---|---|---|
| SS450 | 370 | 433 | 730 | 210 | 449 | 390 | 125 |
| SS500 | 375 | 438 | 770 | 235 | 527 | 500 | 125 |
| SS650 | 425 | 488 | 850 | 300 | 627 | 500 | 125 |
| SS700 | 460 | 523 | 960 | 330 | 703 | 500 | 125 |






